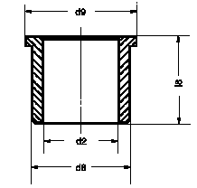
DIN 173G | 
  | 
| 
 | |||||||||||||||||||||
| 
 Mat : acier trempé 63 HRc staal, gehard 63 HRc  | 
 
 | ||||||||||||||||||||
 
 | |||||||||||||||||||||
| 
 | |||||||||||||||||||||

 
 pour décharger le chapitre complet au format PDF et sur 
 pour la version réduite.
 om het complete hoofdstuk  te downloaden en op 
 voor de kortere versie.| 
          Group  | 
          Info  | 
          Index  | 
          Search  | 
          Back  | 
          Next  | 
          Home  |