1971-50 | 
  | 
| 
 | ||||||||||||||||||||||||
| 
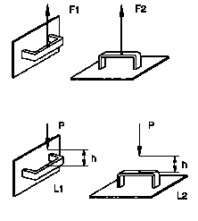
 Technopolymère spécial, renforcé couleurs standard: noire, ou type orange finition mate. Résistant aux solvants, huiles, graisses et autres agents chimiques. Douilles en laiton avec trou borgne fileté. Résistance à l'application d'une charge à traction et résistance aux chocs: les valeurs F1, F2, L1 et L2, indiquées dans le tableau, ont été relevées au cours d'essais de rupture à l'aide d'un dispositif dynamométrique spécial.  | ||||||||||||||||||||||||
| 
 Résistance à l'application d'une charge à traction et résistance aux chocs: les valeurs F1, F2, L1 et L2 indiquées dans le tableau, ont été relevées pendant des essais à rupture au moyen d'un appareil spécial dynamométrique  | ||||||||||||||||||||||||
| 
 Speciaal technopolymeer, versterkt, standaardkleur zwart, of oranje, afwerking mat. Weerstaat aan oplosmiddelen, oliën, vetten en andere chemische middelen. Koppelbussen in messing met van draad voorzien blind gat. 
 Weerstand tegen de toepassing van een trekkracht en schokbestendigheid: de waarden F1, F2, L1 en L2 uit de tabel zijn gemeten tijdens breektesten aan de hand van een speciale dynamometrische inrichting. 
 Weerstand tegen de toepassing van een trekkracht en schokbestendigheid: de waarden F1, F2, L1 en L2 uit de tabel zijn gemeten tijdens breektesten aan de hand van een speciaal dynamometrisch toestel.  | ||||||||||||||||||||||||
 
 | ||||||||||||||||||||||||
 
 | ||||||||||||||||||||||||
| 
 M.543  | ||||||||||||||||||||||||
| 
 Elesa  | ||||||||||||||||||||||||
| 
 L(j) = P(N) . h(m)  | ||||||||||||||||||||||||
 
 | ||||||||||||||||||||||||
| 
 
  | ||||||||||||||||||||||||


 pour décharger le chapitre complet au format PDF et sur 
 pour la version réduite.
 om het complete hoofdstuk  te downloaden en op 
 voor de kortere versie.| 
          Group  | 
          Info  | 
          Index  | 
          Search  | 
          Back  | 
          Next  | 
          Home  |